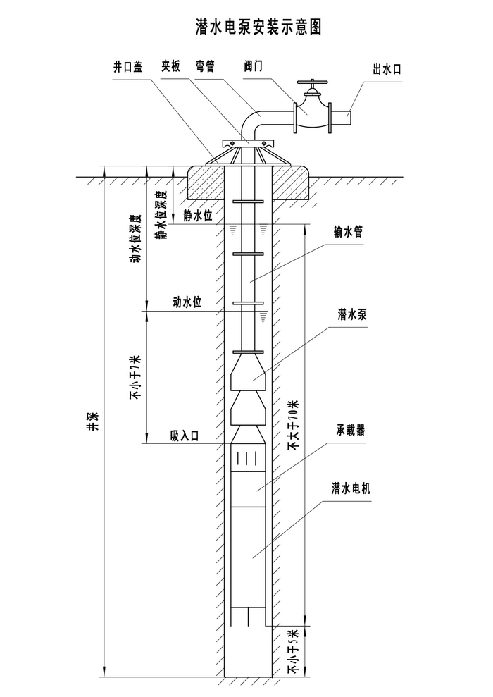
产品名称:300qj型潜水电泵
用途和特点:
300qj型系列井用潜水电泵是一种离心式清水泵,其流量范围为200-320立方米/小时,扬程20-100米,,主要用于深井、,河流、水库等大流量,低扬程提水工程。它具有结构简单,安装维修方便,*节能等特点。
主 要 参 数
|
型号项目
|
扬程
范围
m
|
水泵
效率
%
|
额定
功率
kw
|
额定
电流
a
|
电机
效率
%
|
|
300qj200-20/1
|
18-23
|
76
|
18.5
|
40.8
|
82.0
|
|
300qj200-40/2
|
36-45
|
76
|
37
|
77.8
|
85.0
|
|
300qj200-60/3
|
54-67
|
76
|
55
|
114.3
|
86.0
|
|
300qj200-80/4
|
75-89
|
76
|
75
|
152.3
|
87.0
|
|
300qj200-100/5
|
92-112
|
76
|
90
|
182.8
|
87.0
|
|
300qj200-120/6
|
113-129
|
76
|
100
|
203.1
|
87.0
|
|
300qj230-20/1
|
16-25
|
76
|
22
|
47.9
|
83.0
|
|
型号项目
|
扬程
范围
m
|
水泵
效率
%
|
额定
功率
kw
|
额定
电流
a
|
电机
效率
%
|
|
300qj230-40/2
|
32-47
|
76
|
45
|
94.1
|
85.5
|
|
300qj230-60/3
|
48-70
|
76
|
63
|
130.9
|
86.0
|
|
300qj230-80/4
|
68-95
|
76
|
90
|
182.8
|
87.0
|
|
300qj230-100/5
|
86-115
|
76
|
100
|
203.1
|
87.0
|
|
300qj230-120/6
|
113-135
|
76
|
110
|
223.4
|
87.0
|
|
300qj320-30/1
|
23-38
|
78
|
45
|
94.1
|
85.5
|
|
300qj320-60/2
|
51-69
|
78
|
90
|
182.8
|
87.0
|

|